
3月4日,山东产权交易中心发布一则股权转让信息。
信息显示,山东铝业持有的2226.0923万股股权以4403.73万元的转让底价,在该平台挂牌转让,折合转让底价为每股1.98元,挂牌起止日期为2026年3月4日-3月10日。若转让成功,山东铝业将不再持有齐商银行股权。
按照原定计划,该笔股权将在3月10日进入挂牌截止倒计时。然而,笔者于3月11日登录山东产权交易中心后发现,这笔股权的挂牌截止日期已经延长至3月17日。

从3月10日延长至3月17日,意味着这笔股权并未在原定期限内寻找到接盘方。将时间线往回拨,可以发现这笔股权早已不是首次挂牌转让。
早在2023年11月,山东铝业就在北京产权交易所挂牌转让了2120.0879万股齐商银行股权,转让底价为4024.14万元,折合每股约1.89元。
今年1月,山东铝业又在山东产权交易所挂牌转让2226.0923万股齐商银行股权,转让底价为4403.73万元,折合每股约1.98元,转让底价略高于第一次转让,挂牌截止日期为1月28日。
如今被挂上山东产权交易所的这笔股权,无论是股权数,还是转让底价都与1月挂牌的股权一致,两笔股权应为同一笔。
山东铝业是中国铝业旗下的子公司,其清仓齐商银行股权,或为响应央企“退金令”号召,剥离非主业金融资产。而几次挂牌都未能觅到买家,一定程度上反映出齐商银行在股权交易市场并不吃香,这背后,是齐商银行在成长性、股东回报等多个方面的吸引力不足。
近几年,齐商银行发展较为稳定,资产规模距离3000亿元只差临门一脚,2025年前三季度营收同比增长0.58%至28.12亿元,净利润同比增长2.92%至6.05亿元,保持双增态势。
但不可忽视的是,齐商银行的创利能力相对偏低。2022年-2024年,齐商银行的成本收入比依次为40.35%、39.49%、40.2%,明显高于商业银行平均水平。2025年上半年这一指标压缩至37.48%,较去年同期下降0.7个百分点。较高的成本收入比对齐商银行的净资产收益率(ROE)也造成一定拖累。财报披露,2025年上半年,齐商银行的年化净资产收益率仅3.68%。
自身增长承压的情况下,齐商银行的股东回馈也不算大方。近几年,齐商银行仅在2023年按5%的比例用资本公积转增股本,向股东每10股转增0.5股,不分配现金股利。2022年及2024年该行都未进行分红。
多重原因叠加,让齐商银行的股权吸引力大打折扣。
而股权的频繁转让,还折射出齐商银行股权结构不稳定的现实。山东铝业挂牌转让齐商银行大额股权的同时,阿里资产交易平台上,一笔169.35万股的齐商银行股权也即将在3月16日拍卖,起拍价为203.21万元,折合每股起拍价1.2元。
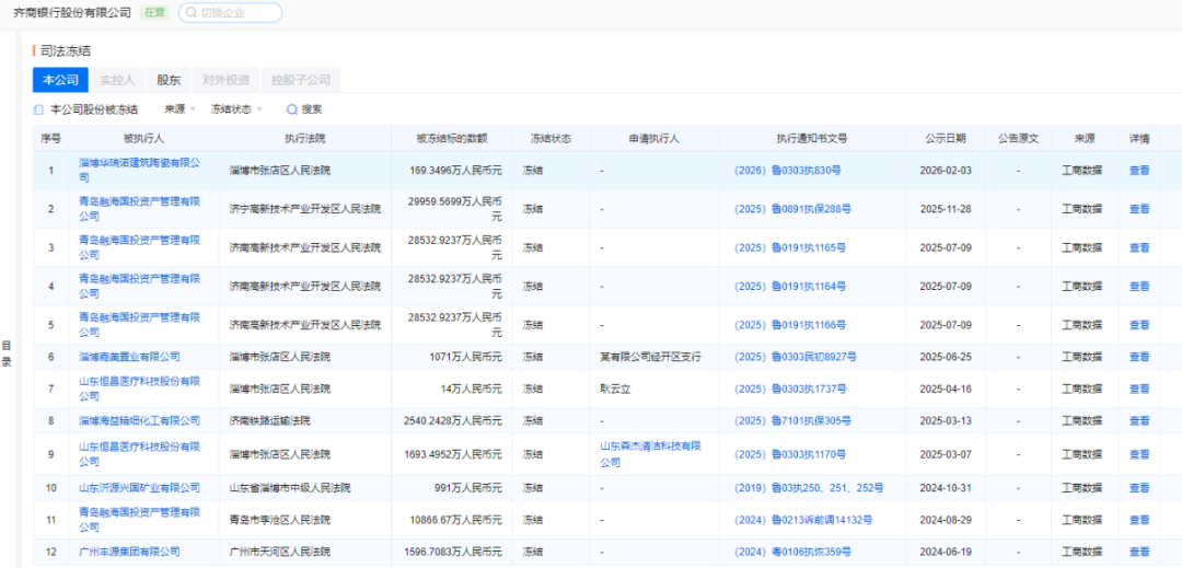
竞买公告并未披露这笔股权的持有者,只表示是“被执行人”持有的齐商银行股权。不过,根据企业预警通收录的司法冻结信息来看,这笔股权的被执行人应当是淄博华瑞诺建筑陶瓷有限公司(以下简称“华瑞诺建筑陶瓷”),该公司在今年1月13日成为被执行人,其持有的169.35万股齐商银行股权也在2月3日被冻结。
齐商银行的股权较为分散,截至2024年末,该行有336户法人股东,9873户自然人股东,持股比例大于5%的股东仅两户。较为分散的股权结构和参差不齐的股东资质,让齐商银行屡屡出现股权质押、冻结、转让等情况。
包括华瑞诺建筑陶瓷在内,2025年至今,齐商银行一共有9条股权冻结信息,其中,有4条冻结信息都来自该行第二大股东——青岛融海国投资产管理有限公司(持股比例5.63%,以下简称“融海国投”),冻结数量最高的一笔有29959.57万股,这也是融海国投持有的全部齐商银行股权。

除此之外,截至2024年末,齐商银行前十大股东里有三家股东都存在股权质押情况,分别是第二大股东、第七大股东和第十大股东。
不过,尽管股东状况频出,齐商银行依然与股东们保持较密切的关联交易往来。截至2024年末,该行的关联交易余额为56.31亿元,其中,齐商银行与23家关联方的关联交易余额大于1000万元,重大关联交易余额合计达43.19亿元。
尽管目前齐商银行的“全部关联方表内外授信净额占资本净额比例”“最大单一关联方表内外授信净额占资本净额比例”两个指标都满足监管要求,但股东资质的参差也给齐商银行埋下一定的资产质量隐患,截至2025年二季度末,该行母公司口径的不良率为1.93%,较2024年末增长5bps,资产质量存在较大的下行压力。