点击“短平快解读”关注我们吧,爆料请@小编
上海银行与“宝能系”的金融纠纷结果出炉,法院判决后者偿还本金73.76亿元以及相应利息等,不过姚振华控制的宝能系多家公司面临财务危机,存在多项失信被执行人、被执行人、限制高消费记录,恐无力偿还相关债务。
今年前三季度,上海银行录得营收、净利双增的成绩,不过增速均为个位数,仍然面临着业绩放缓的挑战,深究根源,与银行业净息差下滑密切相关,另外,信用减值损失在去年及今年均有所上升,对利润造成不利影响,且拨备覆盖率已经连续多年下滑,需要引起注意。
从中报来看,零售金融业务损失额远超批发金融业务,公司在近期披露2025年第1期个人信用卡不良贷款转让公告,未偿本息总额2.47元,显然公司也在加速出清不良资产。

状告“宝能系”胜诉,中报房地产业不良贷款大增
12月30日,上海银行披露与“宝能系”诉讼进展公告。
据短平快解读了解,2024年9月27日,上海银行深圳分行(原告)与深圳深业物流集团股份有限公司(深业物流)、宝能地产股份有限公司(宝能地产)、BaonengLandmarkRicherLimited(宝能置地润泰有限公司)(宝能置地)、深圳市宝能投资集团有限公司(宝能投资)金融借款合同纠纷一案被广东省高级人民法院受理。
同日,深圳分行与深业物流、宝能地产、宝能控股(中国)有限公司(宝能控股)、姚振华、宝能投资金融借款合同纠纷一案亦被广东省高级人民法院受理。
梳理来看,2018年9月、10月,深圳分行通过认购信托资金向深业物流分别放款人民币(下同)15亿元、23亿元,到期日分别为2021年9月26日、2021年10月18日。担保方式为深业物流、宝能地产提供不动产抵押担保,宝能置地提供股权质押等担保,宝能投资提供连带责任保证担保。截至起诉日,深业物流尚欠本金34.772亿元及利息等。
2018年12月,深圳分行通过认购信托资金向深业物流放款40亿元,到期日为2022年6月17日。担保方式为深业物流提供不动产抵押担保、租金应收账款质押担保,宝能地产提供不动产抵押担保,宝能控股、姚振华、宝能投资分别提供连带责任保证担保。截至起诉日,深业物流尚欠本金38.99亿元及利息等。

换而言之,上海银行深圳分行上述诉讼金额分别为34.772亿元、38.99亿元,以及相关的利息逾期违约金、实现债权所产生的全部费用。
起诉一年后,深圳分行胜诉,广东省高级人民法院判决深业物流向原告偿还借款本金34.772亿元、38.99亿元及相应的利息、逾期违约金,同时,深圳分行享有对相关质押财产优先受偿权;另外,宝能投资对借款本金34.772亿元及相应的利息、逾期违约金和应支付的律师费20万元承担连带清偿责任,宝能控股、姚振华、宝能投资对借款本金38.99亿元及相应的利息、逾期违约金和应支付的律师费20万元承担连带清偿责任。
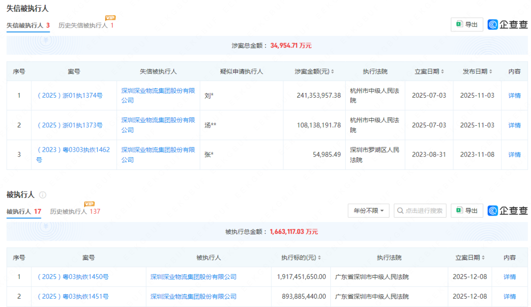
需要指出的是,不管是借款人,还是担保人,均面临着财务危机,企查查显示,截至2025年12月31日,深业物流存在失信被执行人、被执行人、限制高消费、债券展息等信息,其中失信被执行人、被执行人涉及金额分别为3.5亿元、166.31亿元。

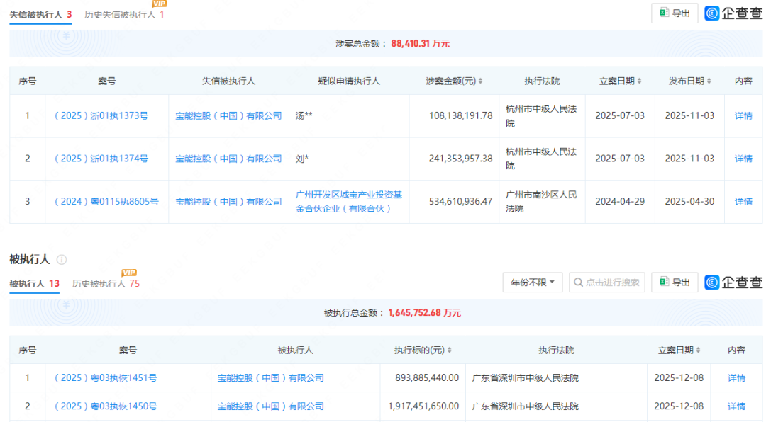
宝能控股、宝能投资同样存在失信被执行人、被执行人、限制高消费等信息,宝能控股失信被执行人、被执行人金额分别为8.84亿元、164.58亿元,宝能投资失信被执行人、被执行人金额12.05亿元、484.42亿元。另外,宝能投资法人代表姚振华自身也存在失信被执行人、被执行人、限制高消费、股权冻结等信息。



虽然上海银行深圳分行胜诉,但考虑到借款人、担保人现如今的财务状况,能够追回相关借款及利息的可能性较低,另外,其他向“宝能系”提供借款的银行、财团同样面临着相关难题。
2021年底,上海银行将上述借款纳入不良,并已充分计提了减值准备,公司预计该事项不会对本期或期后利润造成重大不利影响.
事实上,上海银行与“宝能系”还有其他金融借款纠纷,深圳分行在2023年10月起诉深圳托吉斯科技有限公司、深业物流、托吉斯集团有限公司、宝能投资、宝能控股、姚振华,涉及25.8亿元的本金以及相关利息费用,2025年3月胜诉。

房地产业是上海银行贷款的主要行业之一,连续多年排在第二,仅次于租赁和商务服务业,2021年至2025年1-6月,房地产业贷款余额分别为1560.62亿元、1296.45亿元、1231.36亿元、1187.4亿元、1229.61亿元,占比从12.75%下滑至8.56%,期末较上年末上升0.11个百分点。
与此同时,房地产业不良贷款分别为47.64亿元、33.16亿元、25.99亿元、11.65亿元、31.9亿元,不良贷款率分别为3.05%、2.56%、2.11%、0.98%、2.59%,期末不良贷款、不良贷款率较上年末分别上升20.25亿元、1.61个百分点。

上海银行在中报表示,房地产业不良贷款大增主要是受存量风险个案下迁不良的影响,整体行业风险可控。本集团将进一步加强房地产业务授信风险管理,围绕项目开发核心,严格监管项目工程进度与资金流向,并制定针对性风控措施;针对大额房地产风险业务实施“一户一策”管理方案,不断提升风险处置与化解效能。
收入波动,拟转让近2.5亿元个人不良贷款
资产规模、分支机构稳增。近年来,上海银行资产规模稳增,从2020年的2.46万亿元上升至2024年的3.23万亿元,今年前三季度进一步上升至3.31亿元,与此同时,公司分支机构也呈现上升态势,从2020年的324家增加至2024年的358家,上半年进一步增加至363家。
与之相对应,公司员工数量总体呈现上升态势,从2020年的13,365人(含劳务派遣人员)上升至2024年的14,194人,上半年为14,036人,较上年末减少158人。
收入波动大,净利增速均为个位数。然而,上海银行同时期的业绩存在波动,近五年营业收入增速分别为1.9%、10.81%、-5.54%、-4.8%、4.79%,而归母净利润虽然稳增,但增速均为个位数,分别为2.89%、5.54%、1.08%、1.19%、4.5%。
据短平快解读了解,今年前三季度,公司实现营业收入、归母净利润分别为411.4亿元、180.75亿元,同比分别增长4.04%、2.77%,依然保持着缓速增长。

净息差不断下滑。分析来看,上海银行收入波动与净息差持续下滑有关,从2020年的1.82%下滑至2024年的1.17%,前三季度进一步下滑至1.05%,累计下滑0.77个百分点。
公司利息净收入也从增长过渡至下滑,2020年、2021年增速分别为14.58%、11.11%,随后三年分别下滑6.03%、7.46%、7.62%,前三季度同比增长0.54%至251.22亿元。
信用减值损失转增。近年来,上海银行信用减值损失呈现波动走势,2022年、2023年分别下滑18.38%、29.84%至162.96亿元、114.34亿元,2024年、今年前三季度同比增长8.86%、11.13%至124.47亿元、102.65亿元,需要引起重视。
据中报,公司信用减值损失为49.91亿元,即第三季度单季度增加52.74亿元,超过上半年之和,进一步来看,中报发放贷款和垫款损失额为58.32亿元,同比增加5.99亿元,增幅11.44%。

值得注意的是,公司拨备覆盖率已经连续多年下滑,从2020年的321.38%下滑至2024年的269.81%,前三季度进一步下滑至254.92%,累计下滑66.46个百分点。
零售贷款要引起重视。近年来,上海银行不良贷款总体呈现上升态势,不良贷款率则有所下滑,今年前三季度分别为169.92亿元、1.18%,前者较上年末增加4.12亿元,后者则持平。
据中报,公司对公不良贷款为118.63亿元,较上年末增加1.18亿元,不良贷款率1.36%,较上年末下滑0.01个百分点。个人不良贷款50.76亿元,较上年末上升3.69亿元,不良贷款率1.3%,较上年末上升0.16个百分点。
从信用减值损失来看,批发金融业务、零售金融业务损失额分别为18.48亿元、29.03亿元,同比分别增加1.02亿元、0.77亿元,也可以看到零售金融业务损失额远超批发金融业务。

转让信用卡不良贷款近2.5亿。12月22日,上海银行披露2025年第1期个人不良贷款(信用卡透支)转让项目不良贷款转让公告,未偿本息总额2.47元,借款人13464户,没有设置拍卖起始价。

据中报,信用卡不良贷款率达2.5%,较上年末上升0.52个百分点,不良贷款7.49亿元,较上年末增加1.1亿元。另外,信用卡不良贷款率远超个人消费贷款、住房按揭贷款、个人经营性贷款,后者分别为1.26%、0.63%、2.12%。

二级市场上,上海银行股价从2024年年9月5.95元/股(前复权,下同)一路上升至11.17元/股的高点,随后大幅下滑后实现反弹,截至12月31日收盘,股价为10.1元/股,较高点下滑约10%,总市值1435亿元,TTM市盈率5.97倍。

截至2025年三季报,持有上海银行的主力机构、累计持股分别为51家、79.29亿股,而2024年分别为579家、87.77亿股;不过,股东总人数则有所增加,9月末为11.49万户,而2024年为10.12万户,差值1.37万户,形成了机构撤退,散进场的格局。
(短平快解读-原创作品,未经许可,请勿转载!PS若稿件侵权或数据有误,请及时联系修正)
