文 | 观察团来源 | 新经济观察团
近日,广西壮族自治区通信管理局在官方网站发布了《广西壮族自治区通信管理局 广西壮族自治区互联网信息办公室关于40款侵害用户权益行为的APP通报》(下称“《通报》”)。
在上述40款APP中,有多个金融借贷APP,包括南宁市乘数小额贷款有限公司(下称“乘数小贷”)旗下的“芸豆贷款钱包”,涉及到的问题为“违规收集个人信息”。跟新经济观察团此前报道的多家地方小贷公司一样,这家小贷公司也是备案了多款APP,甚至发声明称已经停止运营多年,而背后真正运营方却扑朔迷离。

工商资料显示,乘数小贷成立于2013年5月,实缴资本为6000万元,有13名股东,其中第一大股东为广西北斗星联成资产经营有限公司,持股比例23%,为失信被执行人、被限制高消费,其余12名股东为自然人,其中潘恒松是被执行人,刘贤为被执行人、被限制高消费。
从历年的经营状况来看,乘数小贷业务开展较差,甚至一度暂停营业。企查查显示,在南宁金融办近几年的多次抽查检查中,乘数小贷在2018年和2019年均未正常开展经营,未能进行检查。

此外,在2020年至今的7次双随机抽查中,乘数小贷多次设计问题被责令改正。其中2025年12月“发现问题已责令改正”;2025年9月,“发现问题待后续处理”;2024年6月,“不配合检查情节严重”;2022年6月,“不配合检查情节严重”;2020年8月,“发现问题待后续处理”。

但就是这样一家经营不佳的小贷公司,却在2024年底至2025年初密集本案了多个贷款APP。
ICP/IP地址/域名信息备案管理系统查询结果显示,乘数小贷备案了拍拍分期贷、小花借钱分期花、芸豆贷款钱包(即被点名的那款)、小额分期借钱、小额救急借钱、豆豆分期借共6个贷款APP。

有意思的是,在今年1月26日,乘数小贷在官方渠道发布公告,称公司自2017年起已全面停止一切贷款相关业务,且从未与任何第三方公司开展贷款类合作,也未开通任何线上贷款渠道,未注册企业微信号。乘数小贷称,“ 任何以南宁市乘数小额贷款有限公司名义开展的贷款业务、合作推广,均为诈骗行为”。

但问题是,若真的停止业务,为何还在备案贷款APP?是乘数小贷自己备案的,还是有第三方公司操刀?若有第三方公司,他们可以绕过乘数小贷直接申请这些备案吗?乘数小贷内部真的无人知晓?真的没开展业务,芸豆贷款钱包为何还能因隐私违规,被当地通信管理局点名?这其中是否涉及到监管明令禁止的小贷牌照租赁?又是否真的是第三方诈骗?若为诈骗,乘数小贷为何不选择法律途径解决?真相可能只有乘数小贷知道了。
但从股权关系上看,乘数小贷背后确实有个真正的助贷运营方,但奇怪的是截止发稿前,这些公司已经被注销地差不多了。
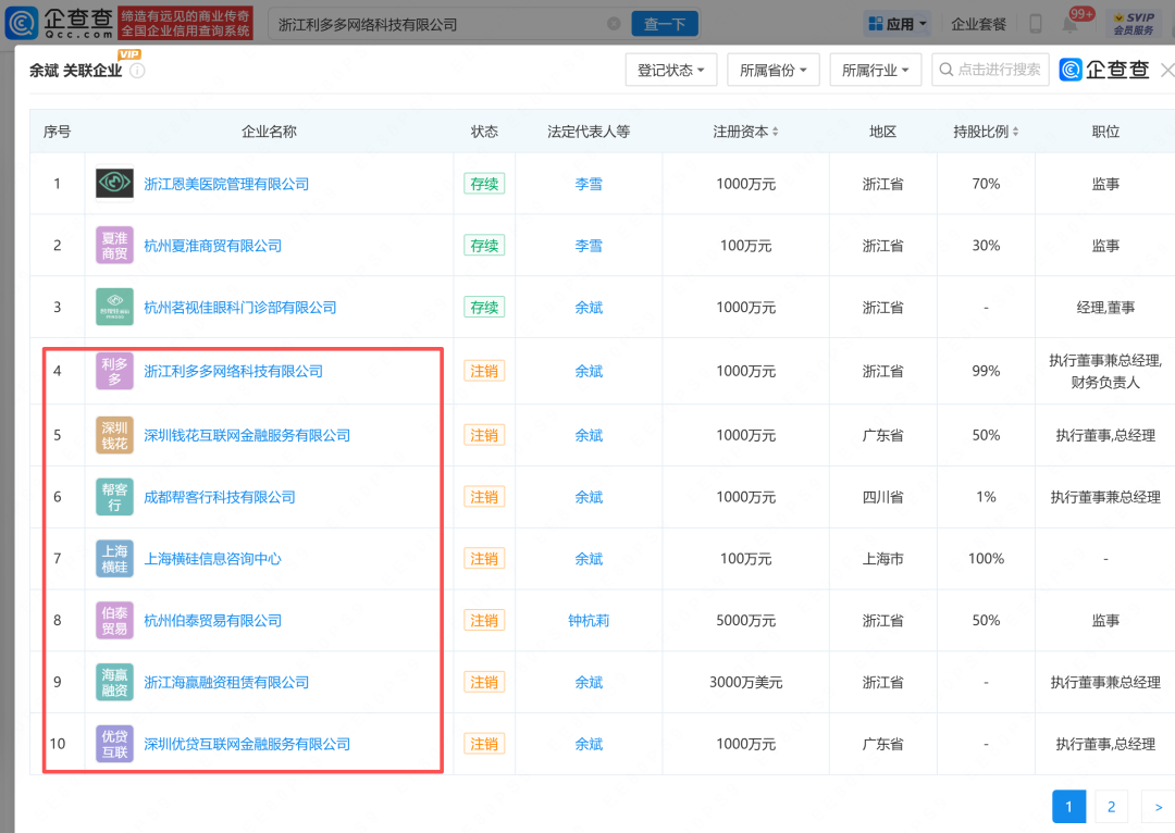
乘数小贷的监事名为刘童,他同时在浙江利多多网络科技有限公司(下称“利多多”)等9家公司担任职务,其中多家位于现金贷企业云集的浙江省。而除了乘数小贷之外,其余全部注销。

其中,利多多公司已于2025年3月26日被注销,但可以发现利多多此前备案了生活、服务宝等软件,疑似开展商城、助贷等业务。

利多多的实控人余斌,旗下关联公司高达17家,其中除了医美机构、眼科医院仍在营外,大部分公司名称中涉及助贷、贷款咨询等业务的公司已被注销,余斌的职务基本上是执行董事、实控人等核心职务。

例如,深圳钱花互联网金融服务有限公司,2019年8月13日被注销;浙江海赢融资租赁有限公司,2020年7月29日被注销;成都钱袋宝贸易有限公司,为浙江钱袋宝贸易有限公司全资子公司,2018年1月22日被注销;上海横硅信息咨询中心,2025年9月22日被注销;深圳优贷互联网金融服务有限公司(下称“深圳优贷”),旗下曾备案“优贷金融”,主营大学生贷款,2019年8月12日被注销;浙江金合子网络科技有限公司,2020年1月17日被注销。

再进一步看,深圳优贷唯一股东为杭州精领网络科技有限公司,后者由杭州帮客文化创意有限公司、沈秀丽和温学军合资成立。
作为经历过雷潮的人,小编对温学军这个名字有些印象。温学军旗下有家金华市易诚网络金融信息服务有限公司,曾经备案“舍得金服软件”和“P2P诊断”。他的合伙人名为兰洋。

而在2025年9月8日,杭州市西湖区人民法院官网发布了“车蚁金服”平台案受损集资参与人资金清退方案,提到的涉案人员就有温学军和兰洋。

而如今,与南宁乘数小贷有关联的刘童、余斌等人,旗下公司已悄然注销,温学军等人也早已被遗忘在角落,加上乘数小贷亦坚称自2017年起便未开展贷款业务,导致真实股权关系与责任归属扑朔迷离。
回望行业轨迹,余斌、刘童等人实控的助贷类公司,曾有两个密集注销节点:一是2018年前后现金贷、学生贷、P2P监管风暴来袭,大量平台因政策风险主动或被动出清;二是2025年前后,“助贷新规”正式落地,以高利率覆盖高风险的违规模式彻底失去生存土壤,又一批公司选择悄然退场。至于南宁乘数小贷与这些旧日玩家的关联是否仍存,我们不敢妄下定论。
我们只是感叹,在现金贷的灰色江湖里,钻空子的成本似乎很低——注销公司、切断股权链条,便能将过往的争议与隐忧悉数掩埋。而真正的问责与纠偏,或许永远留在了那层扑朔迷离的迷雾之后。
*声明:新经济观察团登载此文出于传递更多信息之目的,不构成任何建议。原创文章未获授权不得转载。
End