
来源|本原财经
作者|于舒雅
见识过白象多半袋面,“多半”是注册商标;千禾0添加酱油,“0添加”是商标;三分钟奇迹洗发水,“三分钟奇迹”是商标;壹号土猪,“壹号土”是商标等一系列让人哭笑不得的商标后,现在的消费者都精得很,看完大字看小字,生怕被坑了。
奈何商家的套路实在是深,不知道从哪里练就了一套营销三十六计,连看着像老实人的白象也不老实了。
南京市民陈先生在超市里选购挂面,看到大品牌今麦郎的“手打挂面”十分醒目,旁边还注明“好像妈妈的手打面”,这谁能忍住不买。
结果回家一煮发现,面条根根分明,透着流水线生产的规整,吃着自然也没有咱妈的味道,心生质疑。

人家今麦郎到是坦诚:“挂面是工业品,车间流水线生产,‘手打’只是名称”。
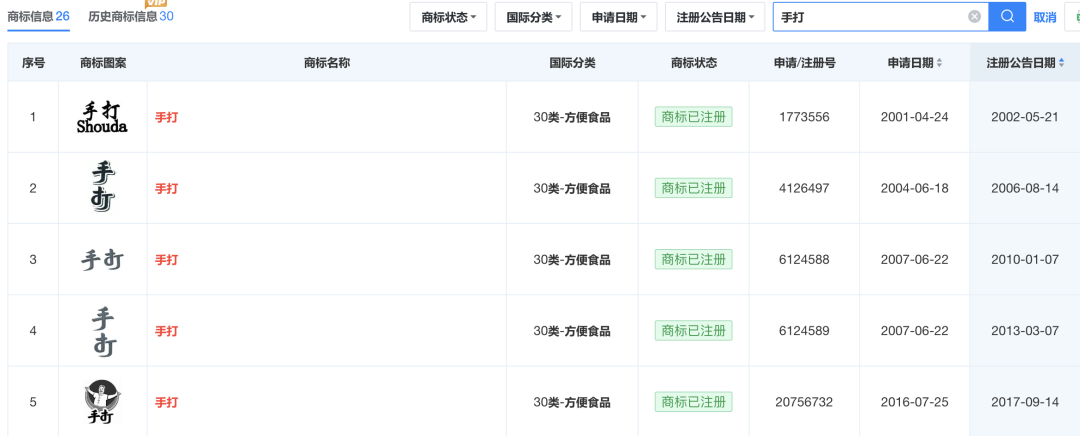
我又细细看了一眼,“手打挂面”四个大字的右上角,有小字体标注®标,所谓“手打”又又又是商标。
业内律师说,这就是弱化商标属性、强化工艺描述的营销手法,极易对消费者产生误导,属欺骗性使用注册商标。
据天眼查知识产权,今麦郎早在2001年就开始注册“手打”商标,一直到2023年,都还有新的“手打”商标注册或展续成功。

到2026年,今麦郎的小把戏才被拆穿,人家还敢用,有恃无恐。
《食品安全法》和《商标法》明明都有明文规定,为啥今麦郎们还在玩“文字游戏”?或是企业内卷之下追求短期利益的结果。
今麦郎作为国民品牌,1994年成立,依靠5毛钱方便面起家,曾与康师傅、统一并肩,依靠薄利多销占领下沉市场。但从2022年起,其营收已经连续三年下滑,在方便面市场的份额也被白象超越,跌落至第四。
其上市之路更是一波三折,从2019年借壳莱茵体育失败,到2020年与中信建投签订上市辅助协议,至今无下文,屡屡受阻。
快消品市场更新换代快且同质化严重,而研发新产品、提升产品品质要付出时间与资金。于是,今麦郎选择这种投机取巧的方法快速变现,缓解营收压力。
值得注意的是,2018年的时候,“手打面”事件就发生过,当时消费者花1121.1元买的面,今麦郎十倍赔付,即1.1211万元。
近年来,今麦郎不止商标争议缠身,还屡屡出现产品质量问题。2025年就多次被消费者指控挂面中出现虫卵和虫子,皆以小额赔付收尾。
在黑猫投诉平台上,以“今麦郎”为关键词的投诉条数已累计达1700余条。投诉内容大量集中在面饼内含头发、虫卵等异物,发霉变质以及客服形同虚设等。
商业以诚为先,就像人民网评价的,消费者知道了他们是在欺骗,他们也知道自己在欺骗,法律也规定了商标不能存在误导性内容,但这些所谓的商标还在理直气壮地大行其道。
如此醉心“钻研”宣传话术,“优化”文字包装,迟早会将几十年积累的用户信任消磨殆尽。
老对手康师傅和统一早已进军高端面市场,白象也凭借国货情怀和产品创新俘获年轻消费群体。
只有今麦郎还被困在中低端价格带,试图用“1桶半”的量大管饱和“手打”商标的文字游戏,来吸引眼球维持销量,可悲亦可叹。
4月1日,今麦郎集团董事长范现国发视频正面回应。范现国称,“手打”商标是2006年注册,已经用了20年。“为了避免给消费者带来产品表述上的困扰,我们决定不再使用‘手打’商标,4月2日凌晨起,我们会立即停止生产所有带有‘手打’商标的产品。”