
文源 | 源Sight
作者 | 安然
你不问,它不答;你一问,它惊讶;假洋牌,原国产;非保健,却治病。
在保健品消费领域,广大消费者早已习惯留有八百个心眼子,但仍有八百零一个坑让人猝不及防。
在“澳洲优思益”全链条造假事件经央视曝光后,其他部分保健品的宣传乱象、产品质量问题也引起众多消费者警惕。
日前,曾被“赌王千金”何超莲、罗永浩、张纪中、疯狂小杨哥、红人鹿等名人明星、网络主播推介过的美国健康食品品牌爱司盟,被打假博主王海质疑多个产品涉嫌制假售假。
此外,曾与“金牌经纪人”霍汶希、“作家张萌”等名人合作的NatureU(奈启优)因模糊品牌归属国家、产品实验数据未经第三方机构证实等问题频频陷入争议。
在保健品行业线上化和跨境化的趋势下,监管部门与电商平台将陆续采取措施整顿行业乱象。未来,保健品行业监管趋严;中长期来看,合规化经营、聚焦产品研发的企业或将胜出。
01
产品问题乱象丛生
去年以来,打假博主王海多次在个人账号发布爱司盟多个产品涉嫌制假售假的视频。

截图来源于抖音
据王海介绍,有消费者从电商平台的爱司盟旗舰店购买了爱司盟辅酶Q10、茶叶茶氨酸、文状元牌神经酸、磷脂酰丝氨酸等多款产品,将其送至第三方机构检测后发现,这些产品均存在主要功效成分未检出或含量不足等问题。
比如,从爱司盟京东海外旗舰店购买到的辅酶Q10,标称每粒辅酶Q10含量300mg,经检测实际含量仅为23mg/粒,后经南沙海关查证存在造假问题。
另一款爱司盟茶叶茶氨酸,标称主要成分茶氨酸200mg/粒,神经酸100mg/粒,第三方检测机构出具的检测报告显示,未检出神经酸,茶氨酸仅有配料标明的一半含量,配料表严重造假,涉嫌制售伪劣产品。
对此,爱司盟尚未公开作出回应。不过,在京东等电商平台上,爱司盟等不少健康食品品牌的产品宣传仍存在踩红线现象。

截图来源于京东爱司盟ESMOND NATURAL旗舰店
例如其旗下苦瓜素、小蓟草复合片等产品,均属于未通过国家保健食品认证的普通膳食补充产品,却在产品链接上添加“降血糖”“护肝”等涉及保健功能及疾病治疗效果的关键词,存在暗示疗效、虚假夸大宣传等嫌疑。
根据《保健食品监督管理条例》,国内的保健食品属于特殊食品,需前置审批取得“食健字”批准文号,才能获得有“蓝帽子”之称的保健食品认证。
例如爱司盟苦瓜素、小蓟草复合片等所谓通过美国FDA标准的膳食补充剂,在美国上市无需提前审批,仅受事后监管,属于底线监管,和中国蓝帽子的前置审批不同,不能说明产品具有高安全性。
除此之外,另一种实验数据型营销也让消费者难以摸清真假。

截图来源于NatureU海外京东自营旗舰店
以NatureU的深度睡眠片为例。据介绍,其所含的SleepMaster®天然镇静肽、高聚合物GABA,所采用的MASTER持续释放技术均可有效延长睡眠时间。
据其官网“临床验证”数据,该睡眠片产品可以帮助失眠者延长深度睡眠时长33.2分钟,93%的用户报告睡眠开始能力有所改善,87%的用户报告深度睡眠时间更长。
但需要指出的是,该产品的研究数据基本来自公司内部的Omnisolutions Laboratory,未见第三方机构客观检测,消费者难以对宣传卖点进行真实性判断。
并且,在国内,NatureU系列睡眠片也属于“非食健字”产品,未经国家层面安全性、功能性审查,实际上并不能作为保健食品药品等有效治疗。
去年10月,澎湃新闻报道称,主播“作家张萌”直播间销售的包含NatureU奈启优深睡片等9款主力产品77%为“非食健字”,但其在直播中暗示这些产品的治疗功效。
同时,根据上述报道,张萌直播间售卖的NatureU奈启优深睡片,称“生产商Omnisolutions Laboratory Holdings Ltd通过GMP认证”,但新西兰药品和医疗器械安全管理局(Medsafe)官网检索结果显示,无该企业认证记录;其核心成分“MASTER首创高分子GABA”称“获中美双专利”,美国FDA官网明确标注“产品陈述未经FDA评估”,中国国家知识产权局也无相关专利备案。
02
品牌擦边、授权隐患
产品隐患重重的同时,不少品牌自身定位也存在擦边嫌疑。
起初,在许多不明真相的NatureU消费者看来,该品牌宛如一个跨越重洋而来的健康专家。
打开品牌官网,NatureU默认以美国官网为主页,默认交易货币基本都为美元,容易让人误以为该品牌来自美国。

截图来源于NatureU官网
可选地区中,除美国、英国、加拿大、新加坡外,还包含中国香港、中国澳门、中国台湾地区,呈环中国大陆路线布局。
由于品牌声称其产品生产地位于新西兰,该品牌在多个网上商城也被默认设置为新西兰品牌。对于公司真正归属地,品牌长期语焉不详,官网也未标注线下经营地址。

截图来源于天猫国际NatureU海外旗舰店
但根据天猫国际网店经营者相关资质信息,NatureU经营主体为OmniSolutions Laboratory Holdings Limited。另据香港公司注册信息查询网站,该公司于2021年1月13日在香港注册成立,注册号为3010722。
或许需在消费者再三追问下,品牌才肯松口坦言:原来OmniSolutions Laboratory Holdings Limited实为香港企业,销售办公室位于香港九龙观塘观塘道418号BEA大厦,研发办公室位于香港科学园一期5W大厦。


截图来源于京东NatureU海外京东自营旗舰店
此外,标榜源自新西兰的NatureU,始终对外强调其海外品牌属性,却遭消费者质疑,该品牌在新西兰本土销售的产品,竟采用中文包装。

截图来源于小红书
另一种普遍存在的问题是,尽管“洋品牌”归属暂无疑问,但公司在中国市场的授权代理却颇为复杂错乱。
爱司盟母公司Esmond Natural lnc.自称是一家成立三十多年的美国维生素和膳食补充剂制造商,其在5316 Irwindale Ave确有线下实体。
国内市场上,Esmond Natural lnc.授权给多个区域代理商在不同平台负责爱司盟销售运营,但由此产生的渠道及品控隐患也在日益扩大。

截图来源于天眼查
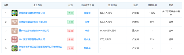
爱司盟中国官网显示,其运营企业为珠海市爱司盟贸易有限公司。根据天眼查,该公司由法定代表人孙晏华100%控股,孙旗下爱司盟关联企业尚存续的还有天津爱司盟国际贸易有限公司,珠海市横琴新区爱司盟贸易有限公司已注销。
而爱司盟ESMOND NATURAL微信小程序账号认证主体为上海冠谛贸易有限公司,股权穿透背后实控人为黄蓉;天猫Esmond爱司盟旗舰店经营企业为上海轻蛋网络科技有限公司,由公司法定代表人陈欣怡100%控股。
京东爱司盟ESMOND NATURAL旗舰店经营企业为娄底跳豆商贸有限公司,由周赫、康义成各持股50%。从股权、经营关系等来看,主要位于广东、上海、湖南的几方经营主体之间无明显关联。

截图来源于爱司盟ESMOND NATURAL旗舰店
在品牌代理各自为政、保健品市场秩序混乱的背景下,爱司盟则可能会出现产品在质量、真伪方面的争议。

图片来源于爱司盟天然健康食品制造公司
03
狂野生长亟待规范
眼下,国内营养保健品行业正加速狂飙。
据欧睿数据,2024年,中国已成为全球营养保健品第二大市场,占据全球18.9%市场份额。灼识咨询预计,我国营养保健食品行业市场规模2029年将达到7203亿元,未来5年CAGR将达6.6%。
根据爱司盟官网资讯,2021年,天猫双11总交易额为5403亿,其中天猫医药健康14家品牌成交额破亿。彼时,爱司盟作为天猫保健品类Top10品牌,全年销售额保持两位数增速。
另据王海打假视频,网红主播“小e哥在美国”“莹莹在美国”“简妮在加拿大”等主播在带货茶叶茶氨酸等产品时就销售了数万单,销量达千万元。

截图来源于抖音
广阔前景之余,行业本身所处高利润区间吸引力也颇大。
2025财年,Swisse(斯维诗)所属的健合集团整体毛利率为62.5%,汤臣倍健整体毛利率为67.9%,健康元整体毛利率为62.44%,接近白酒行业整体毛利率水平。
根据国泰海通研报,保健品属性与美妆护肤有相似的功能目的,均有对健康美丽的进阶型需求,单次货值趋于中高程度,养成习惯后消费固定高频,毛利率较高。不过,由于保健产品效果难以检验,叠加部分产品同质化高,因此营销及渠道均较为重要。
为了加大营销力度、提升产品销售量,不少保健品/健康食品品牌于是铤而走险,对产品进行夸大宣传、虚假包装、甚至添加违禁药物,对消费者身体健康与行业生态健康造成不利影响。
在此情况下,平台与监管部门接连发力。
今年1月22日,天猫国际发布了《境外生产、境外流通核验规范及指引》,大幅加强对入驻平台的跨境品牌商家审核力度;2月26日,国家市场监督管理总局宣布自3月起,在全国范围内启动为期半年的网络食品、保健食品销售虚假宣传专项整治行动。
据中信证券研究,本次对保健品加强监管的重心在直播电商渠道,尤其是跨境直播电商渠道,后续预计可能会有进一步监管措施或者法律法规出台。尽管监管最终路径未定,但合规化经营、聚焦产品研发的企业中长期将胜出。
部分图片来源于网络,如有侵权请告知删除